原标题:伊万卡3个月在华注册13个商标 被批通过其父总统身份搞腐败
【文/观察者网王恺雯】前两天刚因为“晒娃”被围攻的美国“第一女儿”伊万卡·特朗普又被批了,这次是因为其公司在中国注册商标。
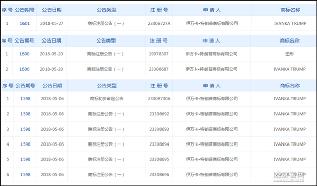
据美联社29日报道,在过去的三个月里,中国通过了伊万卡公司13个商标的审查,与此同时,该公司的另外8个商标也已被初步批准。
对此,美国有团体批评称,伊万卡不愿放弃自己的业务尤其令人担忧,因为她有可能通过自己的地位和其父的总统身份获得经济利益,从而涉及腐败问题。
不少美国网民也痛批伊万卡“腐败”,有人直截了当质问她,知道“裙带关系”(nepotism)怎么拼写吗?
伊万卡·特朗普 图自《纽约时报》
据报道,伊万卡在中国的品牌涵盖了人一生需要使用的东西,从婴儿毯到棺材,以及香水、化妆品、餐具、镜子、家具、咖啡、巧克力等各方面。
观察者网查询中国商标网发现,伊万卡的这家公司全称为“伊万卡·特朗普商标有限公司”,在中国商标网能查询到72个申请记录,商标名称则涵盖“IVANKA TRUMP”、“伊万卡·特朗普”、“伊万卡·川普”等,首个商标申请时间为2008年12月25日。
三个月来,伊万卡·特朗普商标有限公司在中国获批及初审的商标 中国商标网截图
其最新获批的一项商标注册公告日期为5月27日,商标名称为“IVANKA TRUMP”,商品/服务范围包括:质量评估、地质勘探、化学研究、计算机软件更新服务、气象预报、服装设计、笔迹分析(笔迹学)、无形资产评估、替他人创建和维护网站、地图绘制服务等。
美联社指出,截至28日的数据显示,至少有25个伊万卡·特朗普商标有待审查,36个获准注册,8个获得初步批准。除了在中国注册的这些商标,伊万卡的公司在菲律宾也成功注册了3个商标。
作为特朗普的女儿,伊万卡的身份自从他父亲出任美国总统后就变得微妙起来,更何况,她和丈夫库什纳此后还前后进入白宫担任特朗普的顾问,这样的政商背景,让她的一举一动都受到关注。
伊万卡和库什纳 图自外媒
因此,在中国注册那么多商标,也引发了美国国内的质疑声和批评声。
美联社称,尽管伊万卡退出了其公司的品牌管理,将资产投入到家族运营的基金公司,但是她本人仍然从中牟利。
美国社会组织“公民责任和伦理”(Citizens for Responsibility and Ethics)执行主任诺阿∙布克拜因德(Noah Bookbinder)表示:“伊万卡∙特朗普不愿放弃自己的业务尤其令人担忧,因为伊万卡品牌持续在海外扩张。”
“这涉及严重的腐败问题,因为她有可能通过自己的地位和其父的总统身份获得经济利益,或者她经商的国家可能对她的政治工作产生影响。”
《纽约时报》援引专家的观点,称最近一系列商标授权所需的时间似乎与此前一样,但更广泛地来看,伊万卡在中国获得越来越多的商标及其家族在中国的商业利益引发了一个问题:特朗普家族是否会在中国获得一般人得不到的特殊考虑?
位于纽约的特朗普大厦 图自外媒
一名批评人士则指出,与伊万卡做生意的外国政府知道,他们是在与总统的女儿打交道——她也是在白宫工作的人。
民主21(Democracy 21)组织领导人弗雷德·韦特海默(Fred Wertheimer)和“公民责任与伦理”负责人诺曼·艾森(Norman Eisen)认为,“一些国家无疑会认为这是讨好特朗普的一种方式,其他国家可能会把他女儿的公司提出的商业请求视为他们不能拒绝的请求。”
美国网民也对此事表示不满,有的痛批伊万卡“腐败”:
有的略带讽刺地指出这是伊万卡成为总统的“前提”
还有的则指出共和党对伊万卡所作所为视而不见
伊万卡公司代表:注册商标是为保护权益
对于在海外注册商标,伊万卡的公司给出了与上述批评截然不同的解释,其声称这些商标是为了阻止他人用伊万卡的名字牟利。
伊万卡品牌总裁阿比盖尔·克莱姆(Abigail Klem)表示,该品牌对商标的保护是“正常的商业行动”,尤其是在商标侵权猖獗的地区,已经申请、更新、和严格保护其国际商标。
“我们最近看到,一些无关的第三方申请商标数量激增,他们试图利用这个名字,我们有责任努力保护我们的商标。”
《纽约时报》称,在中国,有不少人利用著名品牌和名人的名字注册商标,将其“占有”,希望从中获利。北京天达共和律师事务所知识产权部门负责人冯超说,已经有10多件与伊万卡本人无关的伊万卡商标。
其中包括南方城市佛山的一家公司用伊万卡的拼音为公司的卫生巾和卫生棉条注册的“Yiwanka”商标,南京的好女儿酒业有限公司用英文的Ivanka Trump和中文的伊万卡·特朗普注册了商标。
另据英国《金融时报》2017年2月报道,当时以特朗普女儿伊万卡的名字命名的中国企业多达40家,其中绝大多数公司成立于特朗普获选美国总统后,涉及服饰、美容、内衣等多个行业。
除了伊万卡,特朗普本人自然也逃不了“被注册”的尴尬,《金融时报》称,据中国国家工商行政管理总局数据显示,自从2016年初以来,特朗普字样被注册到公司名称中的现象非常泛滥,在美国大选时段达到了顶峰。
以“TRUMP”命名的卫浴产品
2017年2月之前14个月,至少有80家中国公司注册名称中含有两种常见的“Trump”的中文译名:特朗普和川普。而其中,大约有60家公司注册于特朗普胜选之后。
2006年12月7日,特朗普本人递交了“TRUMP”商标的申请,但就在此前两周,一个名叫董伟(音)的中国人就已经注册了该商标,并在其“创普”实业有限公司的马桶等卫浴产品上使用。
为此,特朗普一次又一次上诉,直到2016年9月6日,国家商标局宣布董伟的商标无效,紧接着,11月3日,特朗普的商标在中国商标局公示,三个月后,即2月13日,公示过程中没有异议,特朗普终于得以在中国拥有以自己名字作为商标的使用权。


