原标题:易到用车新增2条被执行人信息 累计执行标的3.37万元
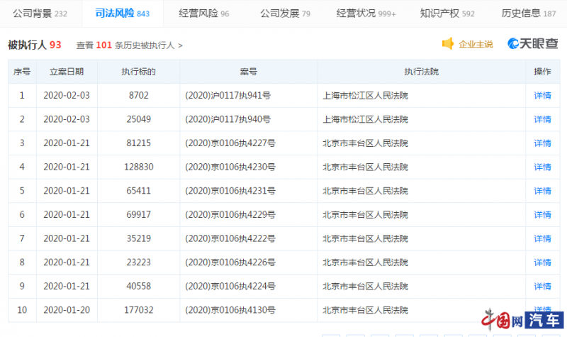
中国网汽车2月10日讯 近日记者从天眼查数据获悉,易到用车的运营主体北京东方车云信息技术有限公司在2020年2月3日新增2条被执行人信息,执行法院上海市松江区人民法院,累计执行标的3.37万元。
与此同时,记者还发现,2020年1月份,该公司新增了82条被执行人信息,累计执行标的731.26万元。
根据天眼查数据显示,北京东方车云信息技术有限公司于2010年5月成立,法定代表人王菲,持股33.82%。公司经营范围包括技术开发、技术咨询、电脑图文设计、设计制作、销售计算机、电子产品、汽车租赁等。
除此之外,记者注意到,北京东方车云信息技术有限公司去年也曾多次被法院列为失信被执行人,最近一次为2019年12月10日因未履行生效法律文书确定的义务,被北京市第三中级人民法院列为失信被执行人。
责任编辑:李昂




